Реализуем климат-контроль на базе CarPC
Основные функции компа реализовал, теперь хочется большего. Есть у кого-нибудь идеи, как реализовать климат-контроль с помощью компа в машине без климата. Регулировки у меня в машине электронные (не троссиковые), что на мой взгляд упрощает задачу.
Как я представляю. Находится USB или иной термометр, для считывания температуры в салоне, подключается исполняющее устройство, которое непосредственно регулирует температуру паралельно штатному устройству. Самое сложное для меня - прога, которое все это будет выполнять.
Re: Регулировка температуры.
Цитата:
Сообщение от vladsmir
Основные функции компа реализовал, теперь хочется большего. Есть у кого-нибудь идеи, как реализовать климат-контроль с помощью компа в машине без климата. Регулировки у меня в машине электронные (не троссиковые), что на мой взгляд упрощает задачу.
Как я представляю. Находится USB или иной термометр, для считывания температуры в салоне, подключается исполняющее устройство, которое непосредственно регулирует температуру паралельно штатному устройству. Самое сложное для меня - прога, которое все это будет выполнять.
У соседей попытки идут....У меня нет времени заниматься...
Re: Регулировка температуры.
Реализовать не сложно , нужно знать механизм работы твоего кондиционера из нутри. Про обороты вентилятора можно не расказывать :)
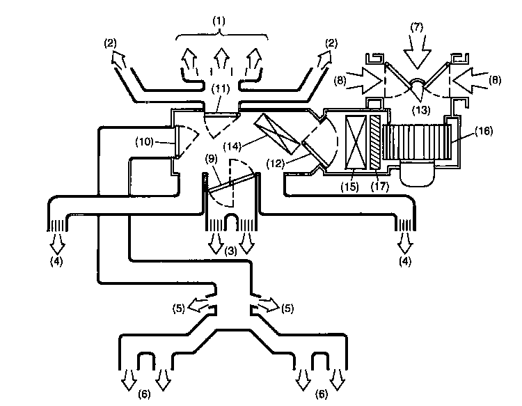
Интересует как работает устройство распределения потоков и подача горячего/холодного воздуха
Re: Регулировка температуры.
Цитата:
Сообщение от Chip
Реализовать не сложно , нужно знать механизм работы твоего кондиционера из нутри. Про обороты вентилятора можно не расказывать :)
Интересует как работает устройство распределения потоков и подача горячего/холодного воздуха
Ща схему попытаюсь скачать. Мне бы хотя бы даже без задействования распределения потоков. т.е. полуавтомат. Чтобы регулировалась именно температура подаваемого воздуха ну и по возможности скорость вентилятора, но тоже не принципиально.
Re: Регулировка температуры.
У меня на Галанте при t=2 С и меньше кондиционер климата вообще не включался...Было 3 датчика температуры:забортный, под торпедо и возле задних сидений....
Re: Регулировка температуры.
Схемы выложил в своем проекте. Реализовать исполнительное устройство достаточно просто, где то даже видел USB устройство с кучей ключей на выходе, думаю даже оно подойдет. Термометры USB тоже видел, правда не в России, но думаю, достать можно. А вот как связать это воедино программой - тут мои познания заканчиваются. Рассчитываю на помощь CHIP. Кстати возможно ли использовать в качестве температурного датчика, датчик от процового кулера?
Re: Регулировка температуры.
Думаю дальнейшее обсуждение можно продолжить в моем проекте. наглядно со схемами.
Re: Реализуем климат-контроль на базе CarPC
Ну так и есть, только вентиляционная заслонка (9), если это то, что я думаю (заслонка на самих дефлекторах), присутствует на всех дефлекторах кроме лобовых.
Re: Реализуем климат-контроль на базе CarPC
В продолжение темы. Приводом заслонки регулятора температуры ручка управляет как я понял посредством ШИМ. Возможно ли будет создать контроллер, который будет управляться по USB? Или обязательно нужен LPT?
И еще... Хотелось бы чтобы схема управления с компа была дублирующей и оставалось ручное управление как резервное. Т.е. как минимум, чтобы была возможность перекинуть 1-2 разъема на ручное управление, а в идеале комп при включении забирал управление на себя, при выключении - отдавал обратно на ручки.