Что-то совсем плохо соображаю... Может, кто поможет?
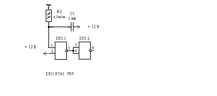
Нужна простенькая линия задержки. Логика работы:
1. Приходит +12 - реле сразу замыкается.
2. Приходит 0 - реле остаётся замкнутым еще 3 секунды, после чего, если за 3 секунды не появилось +12, реле размыкается. Соответственно, если в течение 3 секунд появилось +12, то реле не размыкается.



Ответить с цитированием