Страница 174 из 261 ПерваяПервая ... 74124164168169170171172173174175176177178179180184224 ... ПоследняяПоследняя
Показано с 1,731 по 1,740 из 2609
  1. #1731
    Новичок
    Регистрация
    14.12.2015
    Возраст
    39
    Сообщений
    5
    Вес репутации
    129

    По умолчанию Re: Универсальная панель приборов VENATOR

    Всех с праздниками прошедшими и наступающими, Вопрос такой, я так понял приборка умеет работать без отдельного дисплея, сразу передавая данные в планшет, и так, что для этого надо, кроме планшета(я так понял с отг)?
    Последний раз редактировалось gaara; 08.01.2016 в 18:16.

  2. #1732
    Ломастер Аватар для basurman971
    Регистрация
    13.02.2011
    Возраст
    54
    Сообщений
    396
    Вес репутации
    340

    По умолчанию Re: Универсальная панель приборов VENATOR

    А что в первом посту не по русски написано?
    "Передача обработанных данных осуществляется по интерфейсам COM over USB, Ethernet, Wi-Fi, причем одновременно, что дает возможность, запустив программу на нескольких устройствах, получать на них данные с одного блока обработки"
    Нужен блок сбора информации, из фразы выше вроде предельно ясно.

  3. #1733
    Новичок
    Регистрация
    14.12.2015
    Возраст
    39
    Сообщений
    5
    Вес репутации
    129

    По умолчанию Re: Универсальная панель приборов VENATOR

    Не досмотрел, прошу прощения, ещё такой вопрос, вместо Hlk-rm04 можно использовать PL2303 http://ru.aliexpress.com/item/2pcs-l...451318400_6149
    нужен только, чтобы с планшетом работал, остальные интерфейсы не интересны
    Последний раз редактировалось gaara; 08.01.2016 в 23:40.

  4. #1734
    Ломастер Аватар для basurman971
    Регистрация
    13.02.2011
    Возраст
    54
    Сообщений
    396
    Вес репутации
    340

    По умолчанию Re: Универсальная панель приборов VENATOR

    Если нужна связь по ЮСБ, то зачем конвертер? ЮСБ берется с ардуины. Если строишь сам прийдется читать, ВСЁ!!! Может и не один раз. Все описанные устройства испытаны и проверены временем. Хочешь что то модернизировать? Я - ЗА. Но мучаться прийдется самому. У меня до сих пор работает на свистке по ЮСБ, и если бы не время загрузки овнодроида все бы и устраивало.
    АХТУНГ!!! По ЮСБ костыль в виде серпорта, иногда глючит. Так как костыль никому сейчас не интересен, надо принимать как данность.

    Аааа, чуть не забыл.
    В данной ветке есть всё,ПОВТОРЯЮ !!!ВСЁ!!!, чтобы построить полноценную приборку, то что много страниц ВЫ сами господа лентяи виноваты. Читайте, читайте. Каждому разжевать разжеванное никакого интереса. Тем более, что как мне извесно 99.9% страждущих испаряются узнав во сколько это выливаеся. Нету 10-30 тыр и головы с руками, проходите мимо это не для вас.
    Последний раз редактировалось basurman971; 09.01.2016 в 00:17.

  5. #1735
    Новичок
    Регистрация
    08.01.2016
    Сообщений
    1
    Вес репутации
    0

    По умолчанию Re: Универсальная панель приборов VENATOR

    Доброго всем времени суток. Вопрос такой.ктонибуть менял приборную понель на рено сценик2 на приборную понель с планшетом(venator)?

  6. #1736
    Ломастер Аватар для basurman971
    Регистрация
    13.02.2011
    Возраст
    54
    Сообщений
    396
    Вес репутации
    340

    По умолчанию Re: Универсальная панель приборов VENATOR

    Цитата Сообщение от руслав Посмотреть сообщение
    Доброго всем времени суток. Вопрос такой.ктонибуть менял приборную понель на рено сценик2 на приборную понель с планшетом(venator)?
    Во первых вопрос не там задал, здесь он если не удалят, то потеряется. А во вторых, а что не так с рено? Схему подключения надо или отчет по установке?

    Где нибудь видел инфу хоть по какой машине? Тазы не в счет.
    Последний раз редактировалось basurman971; 09.01.2016 в 00:41.

  7. #1737
    Новичок
    Регистрация
    09.01.2016
    Возраст
    33
    Сообщений
    1
    Вес репутации
    0

    По умолчанию Re: Универсальная панель приборов VENATOR

    какие платы что к чему нефига непонятно

  8. #1738
    Новичок
    Регистрация
    09.01.2016
    Возраст
    35
    Сообщений
    1
    Вес репутации
    0

    По умолчанию Re: Универсальная панель приборов VENATOR

    А в Беларуси есть у кого опыт установки???

  9. #1739
    Новичок
    Регистрация
    14.12.2015
    Возраст
    39
    Сообщений
    5
    Вес репутации
    129

    По умолчанию Re: Универсальная панель приборов VENATOR

    на самом то деле из дорого вижу только сам планшет, ну и ПО, остальное, не дорого совсем, если покумекать немного, то и вовсе за дарма почти можно собрать, я просмотрел скетч ардуиновский, там всё предельно просто, собрать можно и на UNO просто выводов не так много =) а печатки для шилда в формате lay нету часом не у кого, пожалуйста, поделитесь если не трудно, жалко?

  10. #1740
    Новичок
    Регистрация
    06.01.2016
    Сообщений
    3
    Вес репутации
    0

    По умолчанию Re: Универсальная панель приборов VENATOR

    Цитата Сообщение от mitroxa Посмотреть сообщение
    А в чем принципиальное отличие электрической части ВАЗ от таврии?
    В принципе ни чем НО! Таврия инжектор например у моего друга а у меня полный карб хотя подключиться можно куда угодно зная где куда входит и откуда выходит
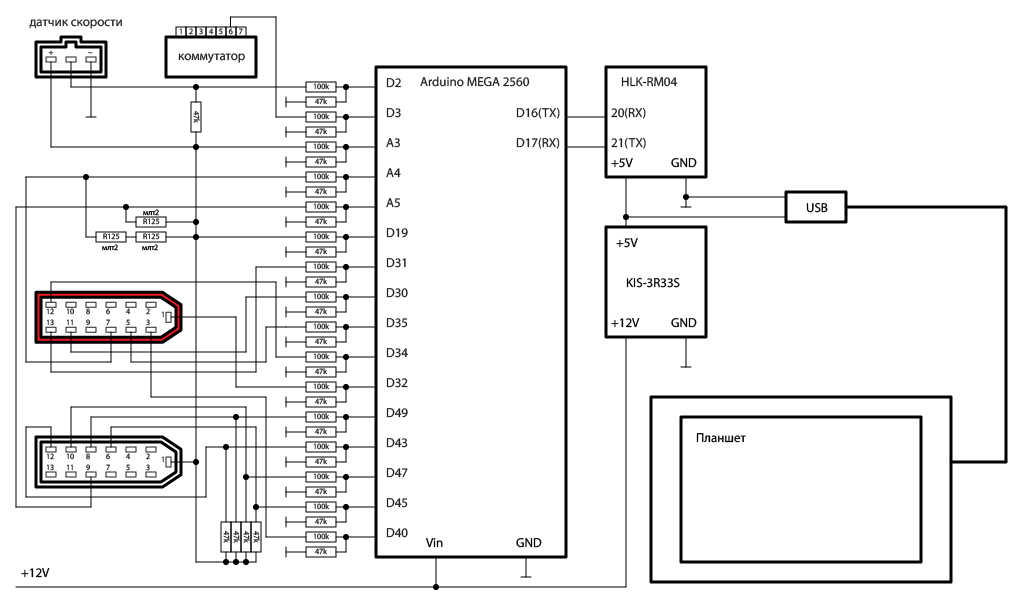
    тогда вопрос другого плана сам БЛОК сбора информации это схемка в первом посту? Нажмите на изображение для увеличения. 

Название:	shem.png 
Просмотров:	3558 
Размер:	40.2 Кб 
ID:	18785 тогда вопрос отпадает если это оно

Страница 174 из 261 ПерваяПервая ... 74124164168169170171172173174175176177178179180184224 ... ПоследняяПоследняя

Информация о теме

Пользователи, просматривающие эту тему

Эту тему просматривают: 35 (пользователей: 0 , гостей: 35)

Метки этой темы

Ваши права

  • Вы не можете создавать новые темы
  • Вы не можете отвечать в темах
  • Вы не можете прикреплять вложения
  • Вы не можете редактировать свои сообщения
  •