АНОНС
Т2000 работа над ошибками
после неудачи с Т1000 пришлось сделать маленький шажёк назад, потеряв максимальное КПД и минитюризацию и найти
НАДЕЖНОСТЬ (назад в будующее)
размер 175Х82Х40мм
Uвх от 8 до 16 вольт
Uвых 12в, 3.3в, 5в+5вstb, -12в пульсации по всем 50-80мВ
Iвых 12в-10А, 3.3в-10А,5в+5вstb-10А, -12в-0.5А рабочие, в пике на 50% больше и очень долговременно
среднее КПД 80%
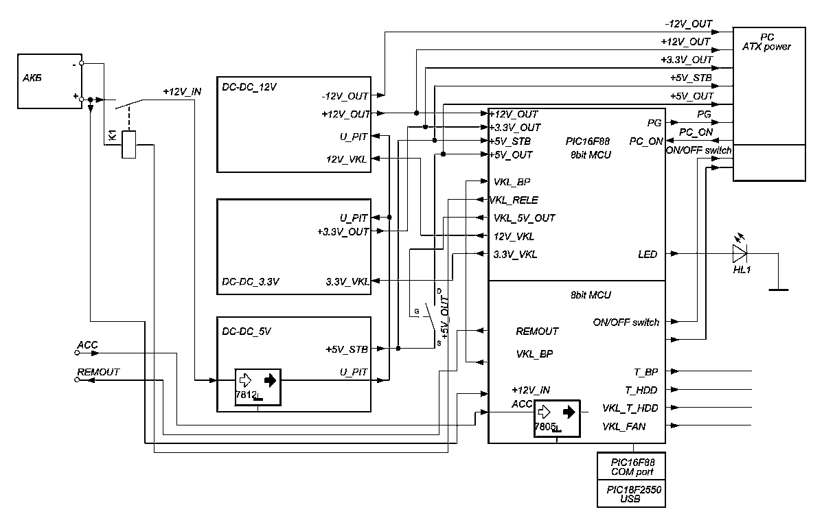
всем этим управляет, контроллирует и выдает ошибки в работе ПИК, специально "заточенный" под данную схемотехнику


)
Ответить с цитированием

