Страница 1 из 6 123456 ПоследняяПоследняя
Показано с 1 по 10 из 57
  1. #1
    Администратор Аватар для Chip
    Регистрация
    08.06.2007
    Возраст
    56
    Сообщений
    13,381
    Вес репутации
    10

    По умолчанию VGA монитор вместо штатного на Hover

    Проект перенес на не дорогую и более универсальную платформу arduino.
    Подробнее здесь

    Старый проект:
    Скачать программу.
    Скачать драйвера.
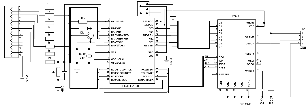
    Посмотреть схему.

    Миниатюры Миниатюры Нажмите на изображение для увеличения. 

Название:	FT245R_PIC.png 
Просмотров:	3014 
Размер:	5.9 Кб 
ID:	3900  
    Вложения Вложения
    Последний раз редактировалось Chip; 22.03.2017 в 11:19.

  2. #2
    Пользователь
    Регистрация
    28.12.2007
    Сообщений
    92
    Вес репутации
    244

    По умолчанию Re: VGA монитор вместо штатного на Hover

    Программу говоришь нужно дорабатывать?
    Помощь нужна?

  3. #3
    Администратор Аватар для Chip
    Регистрация
    08.06.2007
    Возраст
    56
    Сообщений
    13,381
    Вес репутации
    10

    По умолчанию Re: VGA монитор вместо штатного на Hover

    Программа уже почти готова за исключением декодирования FM , я незнаю какие сегменты ответственны за FM , если можно фотку выложи. А помощь если только с графикой помощь потребуется.
    Контроллер для Mrepik, bbill1958 и тебе прошью когда захотите.
    Прошивку в свободное плавание выкладывать не буду потому как на ниссанах такой же чип и не хочу что бы конкуренты воспользовались.

  4. #4
    Новичок
    Регистрация
    22.10.2007
    Сообщений
    9
    Вес репутации
    229

    По умолчанию Re: VGA монитор вместо штатного на Hover

    Очень , Очень рад!!! Тогда и у меня дело сдвинется с места! Как тебя найти??

  5. #5
    Администратор Аватар для Chip
    Регистрация
    08.06.2007
    Возраст
    56
    Сообщений
    13,381
    Вес репутации
    10

    По умолчанию Re: VGA монитор вместо штатного на Hover

    Последний раз редактировалось Chip; 22.03.2017 в 11:20.

  6. #6
    Пользователь
    Регистрация
    28.12.2007
    Сообщений
    92
    Вес репутации
    244

    По умолчанию Re: VGA монитор вместо штатного на Hover

    Когда же будет детальная схема?

  7. #7
    Администратор Аватар для Chip
    Регистрация
    08.06.2007
    Возраст
    56
    Сообщений
    13,381
    Вес репутации
    10

    По умолчанию Re: VGA монитор вместо штатного на Hover

    Схему подправил малость

  8. #8
    Модератор Аватар для XsanderS
    Регистрация
    05.05.2008
    Возраст
    43
    Сообщений
    829
    Вес репутации
    415

    По умолчанию Re: VGA монитор вместо штатного на Hover

    Вот графика для фона, и иконки чет ток 4 насчитал а договаривались на пять, напомни что забыл. Как тебе иконка Auto? так пойдет или зделать полностью надпись?
    Миниатюры Миниатюры Нажмите на изображение для увеличения. 

Название:	hover.png 
Просмотров:	1158 
Размер:	303.2 Кб 
ID:	2088  
    Изображения Изображения     
    хороший модем должен качать пиво!
    Мой проект

  9. #9
    Пользователь
    Регистрация
    28.12.2007
    Сообщений
    92
    Вес репутации
    244

    По умолчанию Re: VGA монитор вместо штатного на Hover

    Когда можно приехать прошить PIC?

  10. #10
    Администратор Аватар для Chip
    Регистрация
    08.06.2007
    Возраст
    56
    Сообщений
    13,381
    Вес репутации
    10

    По умолчанию Re: VGA монитор вместо штатного на Hover

    А контроллер уже купил?

Страница 1 из 6 123456 ПоследняяПоследняя

Информация о теме

Пользователи, просматривающие эту тему

Эту тему просматривают: 2 (пользователей: 0 , гостей: 2)

Ваши права

  • Вы не можете создавать новые темы
  • Вы не можете отвечать в темах
  • Вы не можете прикреплять вложения
  • Вы не можете редактировать свои сообщения
  •