Страница 23 из 28 ПерваяПервая ... 13171819202122232425262728 ПоследняяПоследняя
Показано с 221 по 230 из 275

Тема: M2-atx

  1. #221
    Пользователь
    Регистрация
    20.07.2010
    Сообщений
    25
    Вес репутации
    200

    По умолчанию Re: M2-atx

    Схема вот такая
    Миниатюры Миниатюры Нажмите на изображение для увеличения. 

Название:	Схема.png 
Просмотров:	1607 
Размер:	6.0 Кб 
ID:	12024  

  2. #222
    Наисистемниший Аватар для Stasik
    Регистрация
    09.06.2008
    Возраст
    45
    Сообщений
    595
    Вес репутации
    435

    По умолчанию Re: M2-atx

    Цитата Сообщение от DimonSam Посмотреть сообщение
    В инструкции написано Mode P0, Mode P1. Я думал это режимы работы.
    Р1-перемычка-А
    Р0-все перемычки сняты.
    Разве не так?
    Да все верно в новом мануале описаны режимы P

  3. #223
    Наисистемниший Аватар для Stasik
    Регистрация
    09.06.2008
    Возраст
    45
    Сообщений
    595
    Вес репутации
    435

    По умолчанию Re: M2-atx

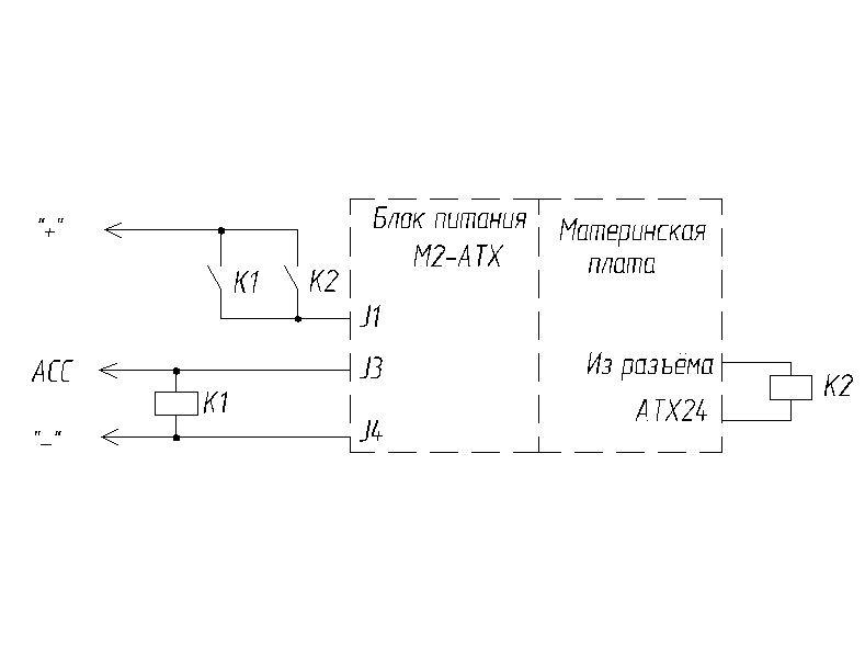
    Цитата Сообщение от DimonSam Посмотреть сообщение
    Схема вот такая
    Подключайте ACC через обычный кремниевый диод, проблема должна исчезнуть.
    Миниатюры Миниатюры Нажмите на изображение для увеличения. 

Название:	M2-ATX_rele.png 
Просмотров:	1534 
Размер:	11.4 Кб 
ID:	12025  
    Последний раз редактировалось Stasik; 26.04.2011 в 17:49.

  4. #224
    Пользователь
    Регистрация
    20.07.2010
    Сообщений
    25
    Вес репутации
    200

    По умолчанию Re: M2-atx

    Извините за наглость, так а в чём проблема-то? А то я уже начал "городить" с цепочкой задержки подачи питания на вход АСС блока питания. А у Вас всё проще получается. Функция диода здесь такая же? Спасибо.

  5. #225
    Пользователь Аватар для RinatKzn
    Регистрация
    11.03.2011
    Сообщений
    79
    Вес репутации
    203

    По умолчанию Re: M2-atx

    Цитата Сообщение от Stasik Посмотреть сообщение
    Потому что у Вас не M2-ATX.
    с чего это ты так решил?
    M2-ATX, отличается только перемычками

  6. #226
    Пользователь
    Регистрация
    02.02.2011
    Возраст
    50
    Сообщений
    20
    Вес репутации
    193

    По умолчанию Re: M2-atx

    Я извиняюсь, но по моей схеме подключения никто ничего не скажет? собирался уже завтра приступить, а ссыкотно без одобрения профи, вдруг чего-то накосячил...

  7. #227
    Наисистемниший Аватар для Stasik
    Регистрация
    09.06.2008
    Возраст
    45
    Сообщений
    595
    Вес репутации
    435

    По умолчанию Re: M2-atx

    Цитата Сообщение от DrSpider Посмотреть сообщение
    Я извиняюсь, но по моей схеме подключения никто ничего не скажет? собирался уже завтра приступить, а ссыкотно без одобрения профи, вдруг чего-то накосячил...
    Попробовать поставить диод, если не поможет будем думать дальше.

  8. #228
    Пользователь
    Регистрация
    20.07.2010
    Сообщений
    25
    Вес репутации
    200

    По умолчанию Re: M2-atx

    Поставил диод (выдрал из платы питания старого видеомагнитофона) всё заработало как надо. Спасибо Вам за помощь!

  9. #229
    Пользователь
    Регистрация
    02.02.2011
    Возраст
    50
    Сообщений
    20
    Вес репутации
    193

    По умолчанию Re: M2-atx

    Цитата Сообщение от Stasik Посмотреть сообщение
    Попробовать поставить диод, если не поможет будем думать дальше.
    Я извиняюсь, но случай с диодом не мой ...
    вот мой пост: http://www.compcar.ru/forum/showpost...&postcount=209

  10. #230
    Новичок
    Регистрация
    22.06.2011
    Возраст
    44
    Сообщений
    1
    Вес репутации
    0

    По умолчанию Re: M2-atx

    Добрый день, позвольте тут вопрос задать, подобные вопросы видел но ответа не нашел. спрашивал тоже самое на писикар ру, так же ответов нет.
    Суть:
    Прикупил m2-atx , запитал от компьютерного блока питания, перемычек не стоит (кстати в инструкции пишут что их 4 должно быть у меня 3) то есть запускаться должно без АСС.

    Включаю, компьютер не включается. Точнее, включается выключается, подвесил для экспиримерна вентилятор и лампочку питания, лампочка загорается и гаснет, вентилятор заводится и останавливается и так пока не отключишь питание. Стартовать пробую с кнопки на прямую, и со шнурка от блока питания до материнке, разницы нет.

    В чем беда? От Блока питания стационарного, напрямую компьютер прекрасно стартует.


    Попробовал с Блока питания подать еще и АСС.
    Без перемычек та же песня. с перемычками вообще не заводится. даже лампочка на материнке не горит.

    Подскажите где чего не докрутил? или может на блоке питания уже чего погореть могло?

    немного по тыркал, на разных мамках, с нагрузкой и без, выдергивал контроллер ставил обратно

    Когда сигнал с БП на материнку есть (Power On) питание то появится то пропадет, вентилятор останавливается запускается, если запускать не сблока питания а кнопкой, то один раз нажимаю на вкл. ветелятор делает оборот и останавливается. если зажать кнопку то та же ситуация как при вкл. с блока питания, постоянно то запуситися то остановится.

    Проверил блок питания на другой материнке, песня та же.



    отцепил БП от всего, подал питание, на шлейфе закоротил серый и зеленый, на красный и черный повесил кулер, крутится не перегружается.

    Хэлп, в чем дело? мощи не хватает? так он и только с одной мамкой так включается/выключается.

    Pic сдох? его отдельно прикупить можно? или целиком БП искать надо?

Страница 23 из 28 ПерваяПервая ... 13171819202122232425262728 ПоследняяПоследняя

Информация о теме

Пользователи, просматривающие эту тему

Эту тему просматривают: 7 (пользователей: 0 , гостей: 7)

Ваши права

  • Вы не можете создавать новые темы
  • Вы не можете отвечать в темах
  • Вы не можете прикреплять вложения
  • Вы не можете редактировать свои сообщения
  •